Uchwyt poziomy do przenoszenia profili stalowych IPVUZ - CROSBY
Zacisk do podnoszenia profili IPVUZ - CROSBY został opracowany specjalnie dla małych profili.
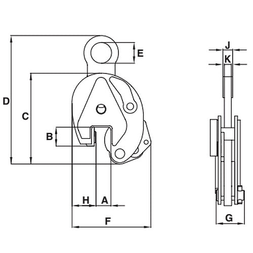
Zacisk do podnoszenia profili IPVUZ - CROSBY produkowany jest z obrotowym uchem do zawieszenia.
Korpus obejmy wykonany jest ze spawanej stali stopowej o dużej wytrzymałości, co pozwala zachować wysoką wytrzymałość i mniejsze wymiary. Części rękojeści są kute ze stopu o wysokiej wytrzymałości.
Każdy zacisk jest indywidualnie testowany do 2-krotności dopuszczalnego obciążenia roboczego, z certyfikatem, oznaczonym unikalnym numerem seryjnym i datą próby obciążeniowej na korpusie zacisku.
Nazwa firmy (CrosbyIP), logo, dopuszczalne obciążenie robocze i rozwarcie szczęk są trwale wybite na korpusie zacisku.
Zacisk podnoszący do profili IPVUZ - CROSBY, spełnia wymagania norm EN 13155 i ASME B30.20.
Wyprodukowano zgodnie z normą ISO 9001.
Wszystkie zaciski CROSBY są WYPOSAŻONE w RFID - wyposażone w chip identyfikacyjny RFID.


| Model | Maks obciążenie | Szczęki A | B | C | D | E | F | G | H | K | Waga |
| --- | t | mm | mm | mm | mm | mm | mm | mm | mm | mm | kg |
| IPVUZ | 0,75 | 0 - 15 | 26 | 130 | 216 | 40 | 115 | 42 | 30 | 11 | 1,8 |
| IPVUZ | 1,50 | 0 - 20 | 55 | 200 | 378 | 70 | 200 | 61 | 64 | 16 | 6,9 |

