Punkt mocujący z stali nierdzewnej SS.SEB UP - CODIPRO
Wersja ze stali nierdzewnej śruby z uchem obrotowym SS.SEB M 12 jest wyposażony w automatyczny powrót do pozycji zapewniający optymalną orientację w kierunku zawiasu.
Dzięki konstrukcji ze stali nierdzewnej oś może być stosowana w środowiskach mokrych, korozyjnych, chemicznych, morskich itp.
Gwint metryczny.

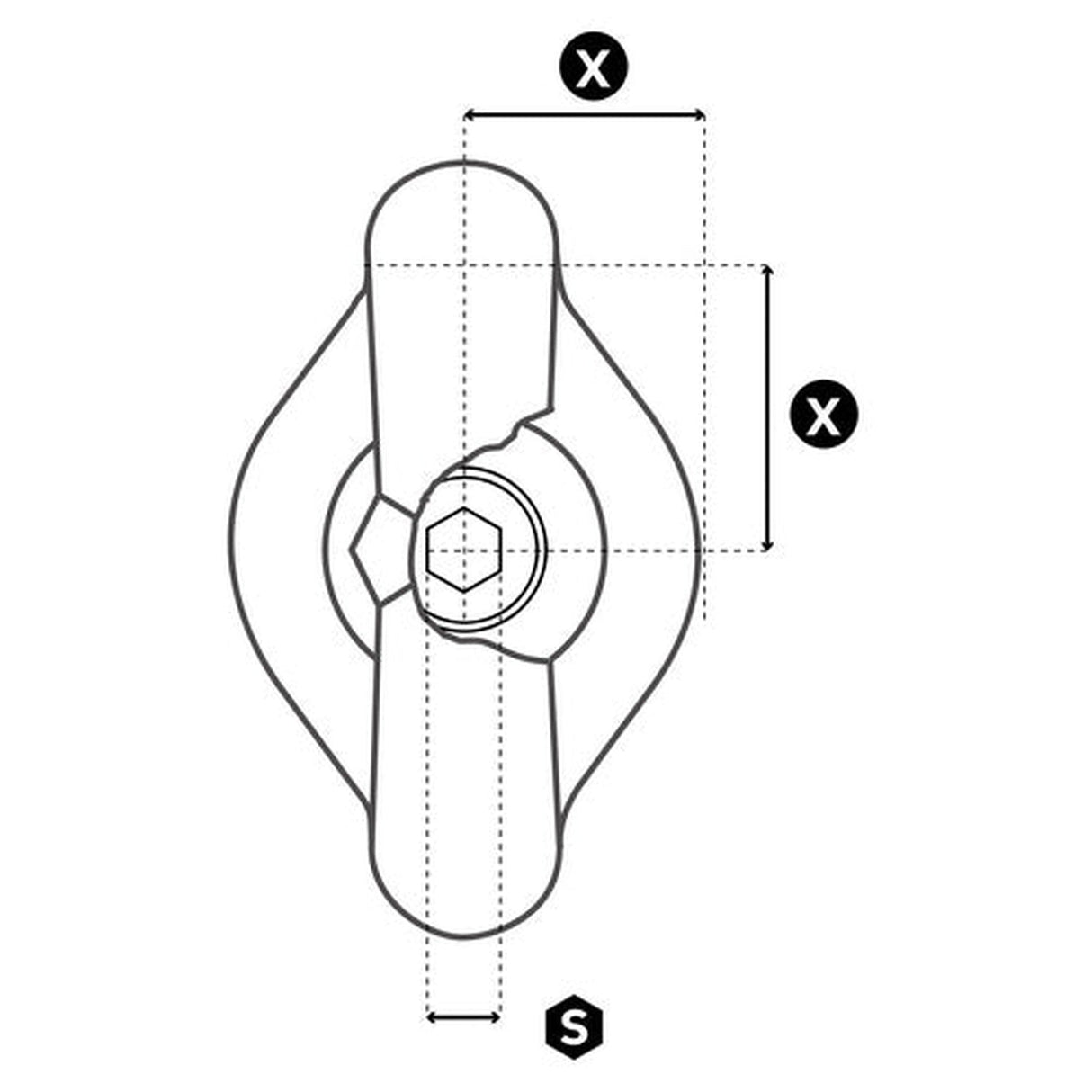
| Model | Wymiar závitu | WLL (SF 5:1) | WLL (SF 4:1) | L1 | Moment obrotowy | S | A | B | C | D | Waga |
| --- | mm | t | t | mm | Nm | mm | mm | mm | mm | mm | kg |
| SS.SEB M 12 | M 12 (x1,75) | 0,55 | 0,55 | 21 | 15 | 8 | 38 | 45 | 90 | 80 | 0,80 |
| SS.SEB M 16 | M 16 (x2) | 1,20 | 1,20 | 27 | 50 | 8 | 38 | 45 | 90 | 80 | 0,82 |
| SS.SEB M 20 | M 20 (x2,5) | 1,50 | 1,50 | 30 | 100 | 8 | 38 | 45 | 90 | 80 | 0,84 |
| SS.SEB M 24 | M 24 (x3) | 2,50 | 2,50 | 36 | 100 | 8 | 38 | 45 | 90 | 80 | 0,90 |



