Rolka odlewana
Jest to półprodukt do produkcji kół pasowych o różnym przeznaczeniu.
Np. maszyny siłowe i do ćwiczeń, sprzęt do zawieszania, zarządzanie linami i wiele innych zastosowań.
Koła pasowe posiadają prefabrykowany otwór do wywiercenia otworu środkowego.
Otwór centralny do obracania koła pasowego może zostać wykonany przez Klienta według jego potrzeb.
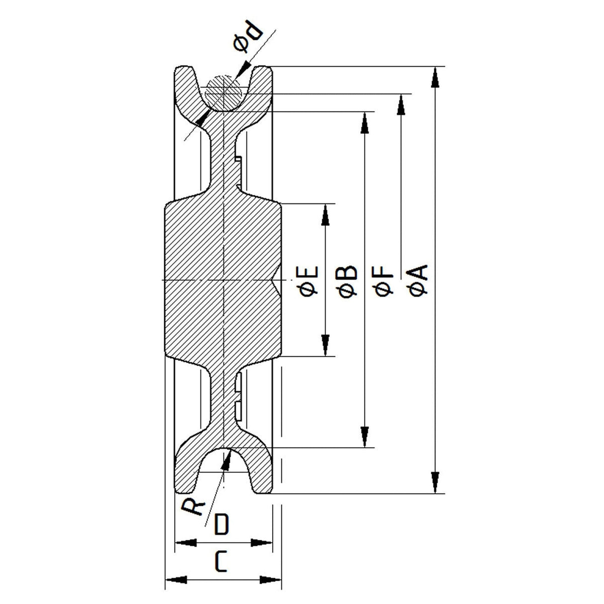
Zalecana średnica liny Ø d zgodnie z ČSN 271820.
R dmax = R/(0,53 ÷ 0,56)
R d = F/(14 ÷ 26)

| Ø Rolki | A | B | C | D | E | R | Waga |
| mm | mm | mm | mm | mm | mm | mm | kg |
| 30 | 30 | 20 | 11 | 11 | 13 | 2,5 | 0,05 |
| 40 | 40 | 30 | 12 | 12 | 15 | 3,0 | 0,07 |
| 50 | 50 | 36 | 17 | 16 | 15 | 4,0 | 0,10 |
| 60 | 60 | 45 | 18 | 16 | 26 | 4,0 | 0,17 |
| 70 | 70 | 55 | 19 | 16 | 25 | 4,0 | 0,23 |
| 80 | 80 | 61 | 23 | 20 | 28 | 5,0 | 0,34 |
| 90 | 90 | 71 | 24 | 20 | 30 | 5,0 | 0,50 |
| 100 | 100 | 81 | 26 | 22 | 35 | 6,0 | 0,70 |
| 120 | 120 | 98 | 28 | 26 | 35 | 8,0 | 0,85 |


