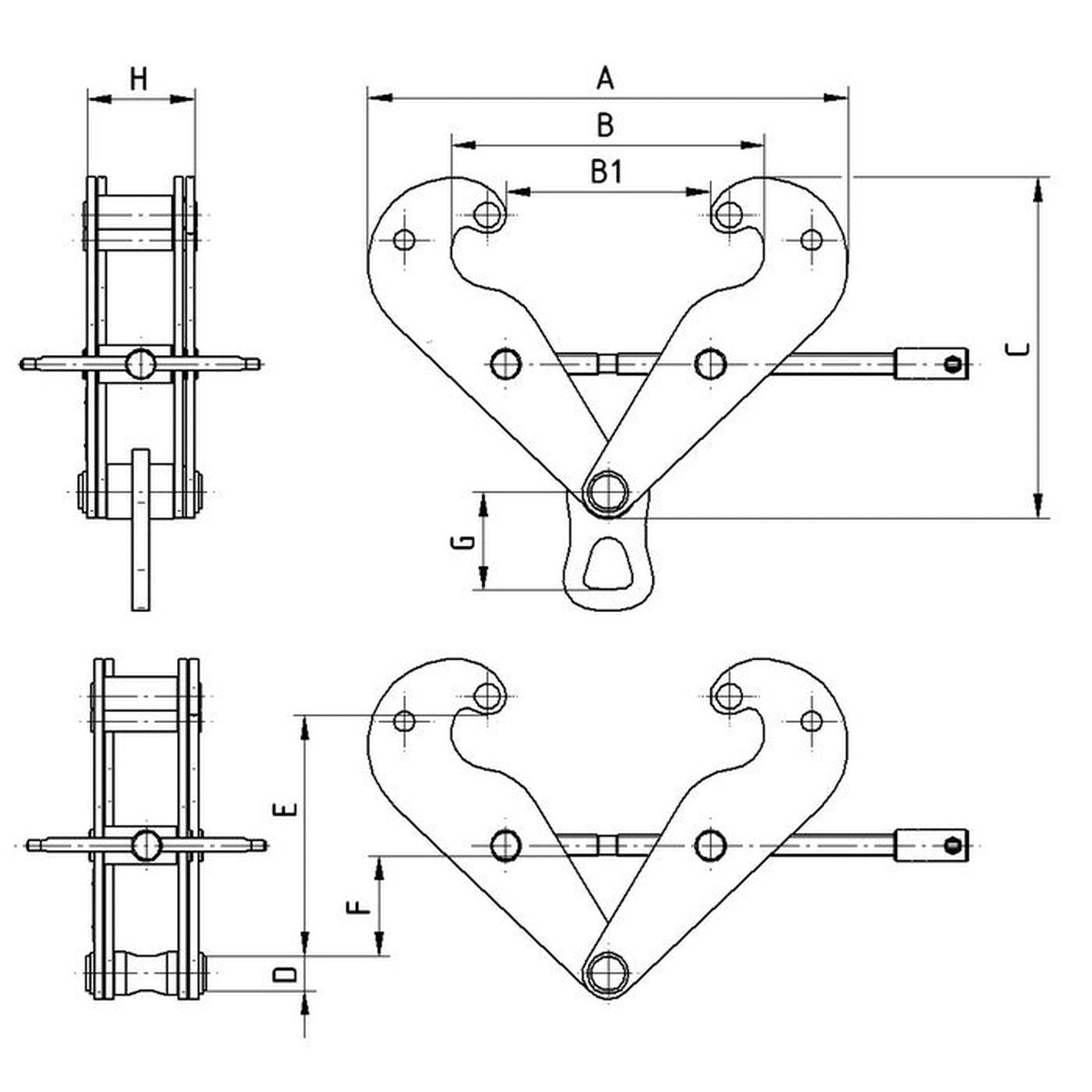
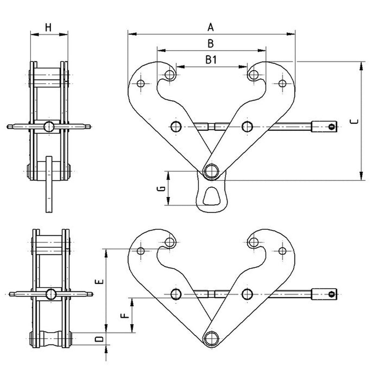
Zawiesie klamrowe ZZ BRANO ze sworzniem
Wariant z poprzecznicą - nośność 2t - 5t.
Wariant z oczkiem - nośność 2t - 10t.
Stosowany jako dodatek do wciągników ręcznych firmy BRANO, ewentualnie także wciągników innych marek.
Służy do łatwego i szybkiego zawieszania wciągników ręcznych na belkach lub słupach o profilu I lub T.
Nadaje się jako przenośne narzędzie do montażu, naprawy i innych prac.
Łatwy i szybki montaż na konstrukcji.
Minimalne wymagania konserwacyjne.
W wersji z poprzeczką osiągana jest nośność 2t; 3,2t i 5t. W wersji z oczkiem osiągana jest nośność 2t; 3,2t; 5t i 10t.

| Model | Dopuszczalne obciążanie robocze DOR | A maks. | B maks. | B1 maks. | C maks. | D | E min./maks. | F min. | G | H maks. | Waga (ZZ) | Waga z okem (ZZ-O) |
| --- | t | mm | mm | mm | mm | mm | mm | mm | mm | mm | mm | mm |
| ZZ | 2,0 | 360 | 270 | 220 | 220 | 20 | 108155 | 35 | 57,5 | 61 | 2,9 | 3,1 |
| ZZ | 3,2 | 415 | 300 | 235 | 285 | 34 | 145190 | 55 | 81,0 | 85 | 6,5 | 7,0 |
| ZZ | 5,0 | 415 | 300 | 235 | 285 | 38 | 142187 | 52 | 88,0 | 93 | 8,4 | 9,0 |
| ZZ | 10,0 | 415 | 300 | 235 | 285 | – | – | – | 120,0 | 109 | – | 15,5 |
B = szerokość pasa belki dwuteowej

